新闻详情

速查!1079人一造证书被标记为异常!

发表时间:2025-07-09 10:28

7月7日上午,水利部发文,公布2025年第二批在其他单位注册其他职业资格或者缴纳社会保险的监理工程师(水利工程)、一级造价工程师(水利工程)名单,其中共有1079人一造证书被标记为异常!


图片
图片


通知显示:近期,水利部核查发现,部分监理工程师(水利工程)、一级造价工程师(水利工程)在其他单位注册其他职业资格或者缴纳社会保险,涉嫌违反《注册监理工程师(水利工程)管理办法》《注册造价工程师(水利工程)管理办法》关于监理工程师(水利工程)、造价工程师(水利工程)不得同时在两个以上单位执业、不得出租出借注册证书等规定。


处理措施


为加强监理工程师(水利工程)、一级造价工程师(水利工程)管理,现作出以下处理:


一、自即日起,将相关人员的注册证书状态设置为异常,直至相关人员及其注册单位完成问题整改为止。各有关单位和人员可通过水利部政务服务平台的“监理工程师(水利工程)注册信息查询”和“一级造价工程师(水利工程)注册信息查询”栏目查询注册证书状态为异常的人员信息。


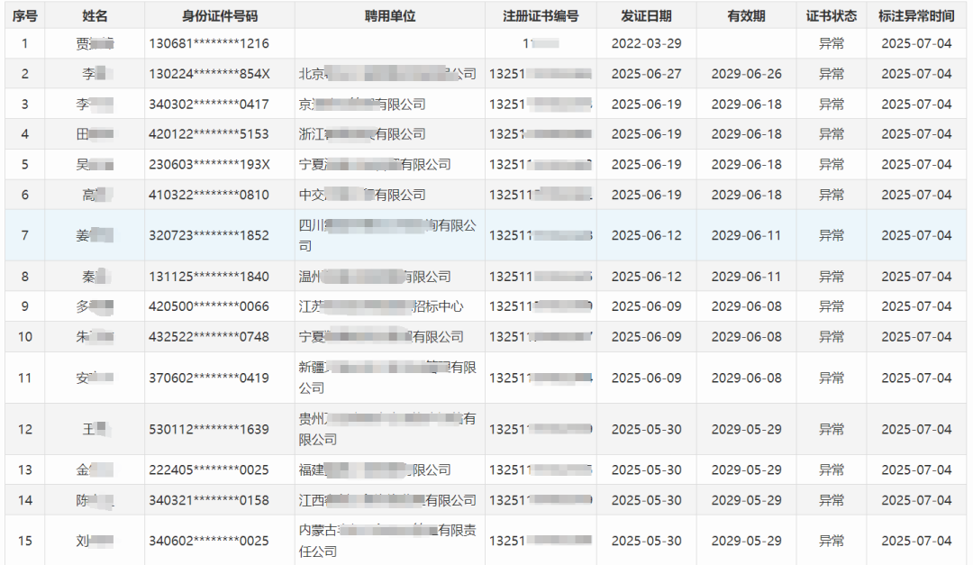
小编发现,官网显示1079人一造证书被标记为异常:


图片


二、注册证书状态异常的相关人员,不得申请延续注册、变更注册(通过变更注册进行问题整改的除外),不得作为水利工程建设监理单位资质申请(包括首次申请、晋升申请、延续申请以及变更申请)中的技术负责人、监理工程师、造价工程师等专业技术人员。


三、对聘用注册证书状态异常的相关人员的监理单位,我部按照《水利部办公厅关于开展水利工程建设监理单位资质动态核查工作的通知》(办建设函〔2024〕1051号)要求进行重点核查,动态核查时专业技术人员数量扣除相关人员后认定。对使用相关人员参与水利工程建设项目投标的,招标人等有关单位应当对其社保缴纳等情况进行重点核查,必要时可要求相关人员到场。相关人员正在参与水利工程建设项目实施的,项目主管部门应当对其到岗履职情况进行重点检查。


四、相关人员的注册单位应督促并配合相关人员做好整改工作。涉及在其他单位注册其他职业资格的,相关人员完成问题整改后,水利部政务服务平台将在10个工作日内自动恢复其注册证书状态,相关人员也可登录水利部政务服务平台申请恢复注册证书状态;涉及在其他单位缴纳社会保险的,相关人员完成问题整改后,应登录水利部政务服务平台申请恢复注册证书状态(具体要求见附件)。


五、监理工程师(水利工程)、一级造价工程师(水利工程)注册证书状态可通过“水利办”微信小程序扫描证书上的二维码查看。


原文链接:

http://www.mwr.gov.cn/zw/tzgg/tzgs/202507/t20250707_1733800.html


温馨提醒


《注册造价工程师(水利工程)管理办法》规定,造价工程师(水利工程)不得同时在两个以上单位执业大家快通过“水利办”微信小程序扫描证书上的二维码自查自己的证书状态。


如有异常,大家要尽快完成整改,完成问题整改后,可登录水利部政务服务平台申请恢复注册证书状态。如若不及时整改注册证书状态将会一直显示异常,水利部也对此问题依法依规作出处理。


分享到: